ZHCSCS1D June 2014 – November 2020 DRV8801A-Q1
PRODUCTION DATA
A low-value SENSE resistor is used to set an overcurrent threshold lower than the default maximum value of 2.8 A and to provide a voltage for VPROPI. This SENSE resistor must be connected between the SENSE pin and ground. To minimize ground-trace IR drops in sensing the output current level, the current-sensing resistor should have an independent ground return to the star ground point. This trace should be as short as possible. For low-value sense resistors, the IR drops in the PCB can be significant, and should be taken into account.
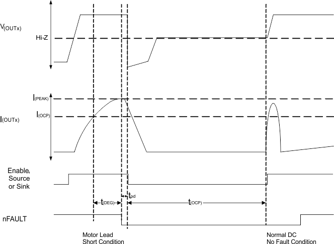
A direct connection to ground yields a SENSE voltage equal to zero. In that case, maximum current is 2.8 A and VPROPI outputs 0 V. A resistor connected as explained before, will yield a VPROPI output as detailed in section GUID-B9D1EBF1-CC0D-48CA-A322-8E6EBCDAEC1B.html. Size the sense resistor such that voltage drop across the sense resistor is less than 500 mV under normal loading conditions. Any voltage equal or larger to 500 mV will signal the device to hi-Z the H-bridge output as overcurrent trip threshold has been reached. In this case, device will enter recirculation as stipulated by the MODE input pin. The device automatically retries with a period of t(OCP).
Equation 1 shows the value of the resistor to a particular current setting.

The overcurrent trip level selected cannot be greater than I(OCP).
Figure 7-2 Overcurrent Control
Timing