ZHCAAM4A October 2019 – August 2021 LM66100 , TPS63802 , TPS63805 , TPS63806
在主電源斷電的情況下,降壓/升壓轉換器將為系統供電。系統電壓會略微下降到事先編程的輸出電壓,并且轉換器會立即開始調節系統電壓。根據所需的備用時間和備用功率,Equation5 可計算出超級電容器的最小所需值。VCL 是超級電容器可通過放電達到的最低電平,這是 TPS63020 降壓/升壓轉換器的最小工作輸入電壓。如前文所示,VCF 是超級電容器達到比較器下降閾值電壓時的電壓電平。該電壓是正常運行的超級電容器充電電壓在最壞情況下的電壓值。
根據所需的備用時間和備用功率,可采用以下公式計算出備用電容的最小所需值。

其中
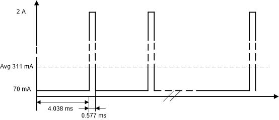
此參考設計使用兩個串聯的 25F 超級電容器。這樣得到的總電容為 12.5F。如果假設是典型的 GSM 電流負載曲線(如圖 2-11 所示),則計算出的備用時間為 111s。

圖 2-11 用于計算備用時間的典型 GSM 負載曲線