ZHCT854 December 2023 BQ76972 , BQ79616 , BQ79731-Q1

太陽能和風能為電網帶來了可再生能源,但存在供需不平衡問題,這也是影響此類能源利用率的主要限制因素。雖然太陽能在中午很充足,但此時的用電需求不夠高,所以消費者的用電成本仍然居高不下。
適用于公用事業機構、住宅、商業和工業場景的儲能系統 (ESS) 應用可以在白天收集太陽能和風能等可再生能源的能量,并在需求高峰期或電網電價較高時釋放儲存的能量。ESS 儲存能量供高峰時段使用,可穩定電網并降低能源成本。
與電池儲能系統(簡稱 BESS,這是一種較常見的 ESS 類型)相關的設計挑戰包括:安全使用;精確監測電池電壓、溫度和電流;以及電芯和電池包之間強健的均衡能力。下面詳細介紹這些挑戰。
挑戰 1:安全
第一大挑戰是在 BESS 的整個壽命周期內保持電池安全,這一周期通常超過 10 年。BESS 應用通常使用鋰離子 (Li-ion) 電池,特別是磷酸鐵鋰 (LiFePO4) 電池。
當電壓、溫度和電流超過其最大限值時,鋰離子電池容易冒煙、起火或爆炸,因此電池的電壓、溫度和電流數據監測及保護至關重要。在這種情況下,您應該考慮和分析電池故障和電池管理系統故障的可能性。
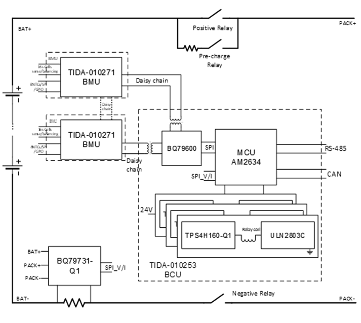
圖 1 演示了一個 BESS 架構。TI 適用于儲能系統的可堆疊電池管理單元參考設計描述了一個使用 BQ79616 來檢測冗余數據測量問題的可堆疊電池管理單元 (BMU),而適用于儲能系統的電池控制單元參考設計展示了一個通過開關確保系統安全的電池控制單元 (BCU)。
圖 1 BESS 架構挑戰 2:精確的電池監測
精確的電池數據可確保安全并提高能源利用率。由于磷酸鐵鋰 (LiFePO4) 充放電曲線中存在范圍較大的平坦區間,即使微小的電池電壓測量誤差也會導致巨大的剩余電量誤差,因此精確的電池電壓和電池包電流測量對于準確估算電量非常重要。精確的電量信息是避免電池平衡錯誤的關鍵,發生這種錯誤時,過度充電和過度放電會破壞電池的最大可用容量。
另一個重要的測量指標則是溫度。大多數電池起火和爆炸事故都是由電池熱失控引起的。
圖 2 展示了 TI 的可堆疊電池管理單元參考設計。該設計采用 BQ79616 電池監測器,可在 -20°C 至 65°C 范圍內實現 ±3mV 的電池電壓誤差。對于住宅系統,設計中也可以選用 BQ76972 電池監測器,該器件可在 -40°C 至 85°C 范圍內實現 ±5mV 的電池電壓誤差。多路復用器開關可以擴展溫度測量通道,確保監測每個電池和電源總線連接器的溫度。可堆疊電池參考設計預留了額外的溫度通道以用于多路復用器開關的診斷檢查。
圖 2 可堆疊電池管理單元參考設計ESS 電量監測也需要準確可靠的電流測量解決方案。BQ79731-Q1 電壓和電流傳感器集成了雙路 24 位電流檢測模數轉換器,其具有冗余通道,有助于確保系統安全性和電流數據準確性。
挑戰 3:電池和電池包的平衡能力
由于負載變化,電池包可能會以不同的速率消耗電流。這些變化會導致電池包剩余電量之間的不平衡,并降低整個 ESS 的最大可用電量。新電池之間的不一致以及不同散熱條件也會導致不同電池之間的不平衡,即使在同一個電池包內也是如此。被動電池平衡會在電阻上消耗電池能量,由于其功耗過高并會導致電池包發熱,因此不建議用于電池包級別的平衡。
電池包的不平衡會在產品的使用壽命內逐漸惡化,而且,ESS 的使用壽命可能超過 10 年。有些電池包在 10 年的周期內可能會比其他電池包老化得更快,導致用戶不得不更換老化的電池包。如果沒有強大的電池包級別平衡電路,則必須由人工對新電池包進行充電或放電,使新電池包的能量幾乎等于 ESS 中其余電池包的能量。但是,這種做法不僅有風險,而且難度大、成本高、耗費人力。
電池不平衡也受到電池容量的影響。為了優化整個 ESS 的每千瓦時單位能源成本,電池制造商正在開發更大容量的電池,容量從 280Ah 擴大到 314Ah,甚至到 560Ah。為了使電池包內的所有電池持續提供相同的能量,電池包中的電池容量越大,需要的有效平衡電流越大。
電池包有多種平衡方法。圖 3 展示了一種方法,該方法采用面向儲能系統的雙向 CLLLC 諧振轉換器參考設計,從高壓總線對電池包進行充放電。隔離式 DC/DC 轉換器通過控制充電電流和放電電流來平衡電池包,使其匹配剩余電量或電池包電壓。由于充電電流和放電電流都會流過雙向 DC/DC 轉換器,因此整體效率低,而且雙向 DC/DC 轉換器的額定功率較大。
圖 3 位于電池包與高壓總線之間的雙向隔離式 DC/DC 轉換器
圖 4 位于電池包與低壓總線之間的雙向隔離式 DC/DC 轉換器結語
安全可靠的電池管理系統可以消除鋰離子和磷酸鐵鋰 (LiFePO4) 電池的安全問題,并通過精心設計的保護功能幫助延長 ESS 壽命,甚至在發生單一設備故障時也能從容應對。精確的數據檢測以及電池包和電池級別的平衡能力可以在充電和放電時實現電池容量相等,并更大限度提高太陽能和其他可再生能源的能源利用率,最后使最終用戶能夠獲得安全、穩定和低成本的可再生能源。
其他資源