SLVSA05B August 2009 – August 2015 TPS61086
PRODUCTION DATA.
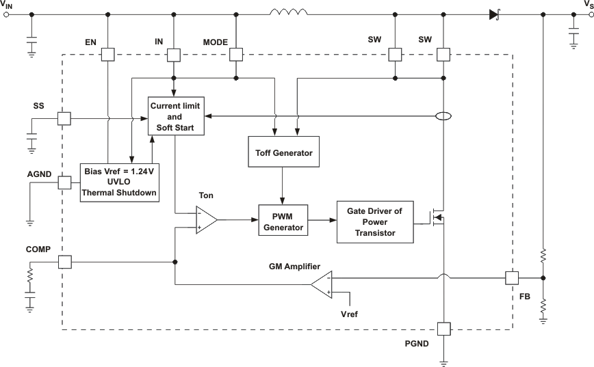
The boost converter is designed for output voltages up to 18.5 V with a switch peak current limit of 2.0 A minimum. The device, which operates in a current mode scheme with quasi-constant frequency, is externally compensated for maximum flexibility and stability. The switching frequency is fixed to 1.2 MHz and the minimum input voltage is 2.3 V. To limit the inrush current at start-up a soft-start pin is available.
TPS61086 boost converter’s novel topology using adaptive OFF-time provides superior load and line transient responses and operates also over a wider range of applications than conventional converters.

The boost converter has an adjustable soft-start to prevent high inrush current during start-up. To minimize the inrush current during start-up an external capacitor, connected to the soft-start pin SS and charged with a constant current, is used to slowly ramp up the internal current limit of the boost converter. When the EN pin is pulled high, the soft-start capacitor CSS is immediately charged to 0.3 V. The capacitor is then charged at a constant current of 10 μA typically until the output of the boost converter VS has reached its Power Good threshold (90% of VS nominal value). During this time, the SS voltage directly controls the peak inductor current, starting with 0 A at VSS = 0.3 V up to the full current limit at VSS ≈ 800 mV. The maximum load current is available after the soft-start is completed. The larger the capacitor the slower the ramp of the current limit and the longer the soft-start time. A 100 nF capacitor is usually sufficient for most of the applications. When the EN pin is pulled low, the soft-start capacitor is discharged to ground.
To avoid mis-operation of the device at low input voltages an undervoltage lockout is included that disables the device, if the input voltage falls below 2.2 V.
A thermal shutdown is implemented to prevent damages due to excessive heat and power dissipation. Typically the thermal shutdown happens at a junction temperature of 150°C. When the thermal shutdown is triggered the device stops switching until the junction temperature falls below typically 136°C. Then the device starts switching again.
If overvoltage is detected on the FB pin (typically 3% above the nominal value of 1.238 V) the part stops switching immediately until the voltage on this pin drops to its nominal value. This prevents overvoltage on the output and secures the circuits connected to the output from excessive overvoltage.
Connecting the MODE pin to GND (or any low logic level) enables the Power Save Mode operation. The converter operates in quasi fixed frequency PWM (Pulse Width Modulation) mode at moderate to heavy load and in the PFM (Pulse Frequency Modulation) mode during light loads, which maintains high efficiency over a wide load current range.
In PFM mode the converter is skipping switch pulses. However, within a PFM pulse, the switching frequency is still fixed to 1.2 MHz typically and the duty cycle determined by the input and output voltage. Therefore, the inductor peak current will remain constant for a defined application. With an increasing output load current, the PFM pulses become closer and closer (the PFM mode frequency gets higher) until no pulse is skipped anymore: the device operates then in CCM (Continuous Conduction Mode) with normal PWM mode.
The PFM mode frequency (between each PFM pulse) depends on the load current, the external components like the inductor or the output capacitor values as well as the output voltage. The device enters Power Save Mode as the inductor peak current falls below a 0.6A typically and switches until VS is 1% higher than its nominal value. The converter stops switching when VS = VS + 0.5%. The output voltage will thenrefore oscillate between 0.5% and 1% more than its nominal value which will provide excellent transient response to sudden load change, since the output voltage drop will be reduced due to this slight positive offset (see Figure 12).
Pulling the MODE pin high forces the converter to operate in a continuous PWM mode evan at light load currents. The advantage is that the converter operates with a quai constant frequency that allows simple filtering of the swithcing frequency for noise-sensitive applications. In this mode and at light load, the efficiency is lower compared to the Power Save Mode.
For additional flexibility, it is possible to switch from Power Save Mode to Forced PWM Mode during operation. This allows efficient power management by adjusting the operation of the converter to the specific system requirements.