SLVSC89A June 2014 – July 2014 TSC2013-Q1
PRODUCTION DATA.
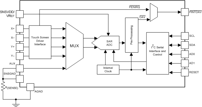
The TSC2013-Q1 device is a very low-power dual-touch screen controller designed to work with power-sensitive, low-cost touch-screen displays in automotive infotainment and navigation systems. It contains a complete, ultralow-power, 12-bit, analog-to-digital (ADC) resistive touch-screen converter, including drivers and the control logic to measure touch pressure.
The TSC2013-Q1 device enables pinch, rotate, and zoom functionality over a standard four-wire interface. The device supports an I2C serial bus and data transmission protocol in all three defined modes: standard, fast, and high-speed. The 10 or 12-bit ADC within is easily programmable to customize system and user experience.
| PART NUMBER | PACKAGE | BODY SIZE (NOM) |
|---|---|---|
| TSC2013-Q1 | PVQFN (16) | 4.00 mm × 4.00 mm |
| TSSOP (16) | 4.40 mm × 5.00 mm |
