SNOSAY8F September 2007 – April 2015 DP83640
PRODUCTION DATA.
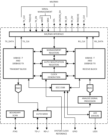
The DP83640 Precision PHYTER™ device delivers the highest level of precision clock synchronization for real time industrial connectivity based on the IEEE 1588 standard. The DP83640 has deterministic, low latency and allows choice of microcontroller with no hardware customization required. The integrated 1588 functionality allows system designers the flexibility and precision of a close to the wire timestamp. The three key 1588 features supported by the device are:
DP83640 offers innovative diagnostic features unique to Texas Instruments, including dynamic monitoring of link quality during standard operation for fault prediction. These advanced features allow the system designer to implement a fault prediction mechanism to detect and warn of deteriorating and changing link conditions. This single port fast Ethernet transceiver can support both copper and fiber media.
